Another Astor ARM Car Radio.


Restored and fitted with Bluetooth.

This Astor ARM belonged to a friend of the owner of the ARM described previously. These sets are used in FC and FE Holdens. Since most of the restoration work was common to both sets, this is a shorter article, and readers are referred to the article about the fist set, in the link below.

As this set came to me, it was in poorer cosmetic condition than the previous ARM. As is often the case, the black plastic surround was broken. Here it was broken and cracked in several places, and attempts had been made to glue it back together.
I have yet to see one of these surrounds in perfect condition. The plastic seems unusually fragile. Surprisingly, despite repro knobs and dials being available, the surround is not. It's the kind of thing which would suit being 3D printed.
The knobs were also in poor condition, and had glue repairs done to them. Part of the tuning knob was missing.
The dial plastic was somewhat dulled, no doubt by years of UV light shining into the car. The dial is intended to be mounted on the control shaft bushings, but had been broken at both points. The dial had been glued to the plastic surround instead, using blue silastic.


Set as received for restoration.

The casing of the radio was covered in a grimy greasy film. I understand that Holden engines have a reputation for wear, so quite possibly this film was a result of oily fumes from the engine.


Oily film all over the case, dial, and push buttons. Note the length of the interconnecting cable.

Two notable differences, between this and the previous set, was that the interconnecting cable between the two units was much longer, and that the dial lamp wiring was different. In this set, the two dial lamps at either end of the dial were brought out to separate wires, intended to be connected to the car dash light circuit. A third dial lamp was connected to the set, but just for illuminating a red dot behind the dial.
The vibrator had had some rough treatment. There was glue and red insulating tape around its base. The can was partially detached.
Other than that, internally, there were no surprises inside the set. It was exactly as I would expect.


This set was the 262.5 kc/s version.

A list of parts was made up, and ordered from WES Components. Some of the paper capacitors had already been replaced in the critical positions; i.e., the audio valve couplings, and the vibrator timing capacitor. Interestingly, the latter was dated 1970, so it seems the radio was still in use during the early 1970's at least. It certainly had very well used look about it.

Power Supply/Amplifier.


Someone's got at the vibrator...


Under chassis of power supply/amplifier.

First point of call was the power supply/amplifier unit. All the electrolytic capacitors were replaced, and also the paper capacitors, except for those bypassing the 12V supply.  As I have often mentioned, the IRC carbon resistors are very unreliable. Previously, it used to be only the high value ones (typically over 47k) that drifted high. However, in recent times even the low value ones are failing. All the resistors were therefore replaced.
Some of the paper capacitors had been replaced. The timing capacitor had also, surprisingly, been replaced with a polyester type. I think this is the first set I've seen where it has not been replaced with just another paper type. It was a UCC Di-Pol type, which is polyester. This is not to be confused with the very similar looking Hi-Qual type, which is paper. I could probably have left it in situ (for my own set I would have), but a new polypropylene type guarantees reliability.

The speaker cable was missing, and given the obscure type of connectors it uses; a pin for the active connection, and a snap for the earth, it was felt easiest to simply connect the speaker flex directly to the internal connections. The original connectors were left in situ, and can easily be used should a cable with the correct connectors be found.
A Scotchbrite pad did a reasonable job of cleaning the chassis, though there was surface rust in parts, and the aluminium cans of the chassis mount electrolytics was quite pitted. These, incidentally, were left in situ for appearance, but were disconnected.
The outer paper covering for the speaker transformer windings was coming apart, and was repaired with plastic tape. This can be threaded through between the windings and laminations, since there is sufficient gap. There is no need to disassemble the transformer.

A new 12V supply lead was fitted, which included a bakelite fuse holder. The original was missing its fuse holder and was getting a bit brittle anyway. I fitted a 5A fuse. Current consumption of the set is 3A, so this provides a margin of leeway, but will protect against any major fault.


Power supply/amplifier chassis restored. Photo taken after the interconnecting cable had been replaced.

The Vibrator.
The vibrator is the usual Ferrocart PM238 (being a 12V set). Of course, having a Ferrocart vibrator pretty much guarantees work would have to be done on it - particularly as this one had already been got at. The whole glued/taped together mess was extracted.


Things are not looking good for the vibrator. The blue silastic had found its way here too.

I had expected to go through the usual procedure of adjusting the contacts , so dismantled the vibrator in preparation.


Vibrator dismantled ready for contact gap adjustment.

However, it soon became apparent as I was cleaning the can with a Scotchbrite pad, that it was cracked in places. It seemed very thin also. Not only that, it had become very brittle. A chunk broke off whilst I was cleaning it.


Unfortunately, the zinc can had become very thin and brittle.

Obviously, that wouldn't be going back in a set that belongs to someone else. So, I found a suitable replacement, which was the later style in a shorter aluminium can. The turnover of the crimp with this type is so thick that it's impractical to try and uncrimp it, without doing some major and ugly damage. I decided to try using a lathe to cut it away instead. This seemed quite successful, despite injuring my finger in the process - I didn't see the jaws of the rapidly rotating chuck, as I tried to re-centre the vibrator while it was spinning.


Replacement vibrator. Crimp was largely removed with a lathe.

Internally, it was quite a surprise. It was like it had been made yesterday. The mechanism was all clean and shiny, and the foam was in perfect condition.


This would have to be most well preserved Ferrocart vibrator I have ever seen. It looks like new inside.

Someone had written in pencil, "shorted", on the vibrator, yet it didn't show any signs of such, and it did start. Nevertheless, there could be something that needed investigation. And, experience tells that there could be crumbly foam inside, and other problems. Hence the need to open it up. Ferrocart vibrators are like that. Some are really good, and others are not good at all.

The contact gap had increased to more than desirable, and there was some pitting on the pull contacts.  A widened gap also means the timing condenser cannot operate correctly, and of course with shunt drive vibrators, starting becomes difficult.
I spent several hours doing the contact adjustment. The usual process of taking out mica spacers was done. However, this is a trial and error process, so the stack had to be taken apart and reassembled numerous times until the gap was correct. The contacts had worn so the surfaces were no longer parallel, and this caused some difficulty. I eventually came to a compromise of spacer adjustment, and contact bending, to get the correct duty cycle.

In view of the previous ARM and the change of timing capacitor from .0082uF to .01uF, I wondered about this set. Checking the waveform showed it was satisfactory with .0082uF, but in future, I think I will use .01uF. As it was, I adjusted the vibrator for about 85% duty cycle. I think this will settle down to about 80%, in view of the contacts not being perfectly parallel. They may be subject to a higher rate of wear to start with, since there is not the full surface area making contact. One would definitely not want to use less that .0082uF. That really was the lower limit. In fact, I suspect the life of Ferrocart vibrators in these sets might be lengthened by using the higher value.


Vibrator being tested after contact adjustment.

There was no problem once adjusted, and the vibrator was run in the power supply chassis with the 12X4 rectifier and 12AQ5 output valve removed. A 240V 15W bulb was connected across one side of the transformer secondary, and run for a few days without any faults.
Reinstalling the vibrator back in its can was done simply by push fitting it back. There was still enough of a lip around the edge to secure the base, and the can was sufficiently flexible to get it back in.

Interconnecting Cable.
Being a two unit set, there is a cable between the power supply/amplifier, and set proper. The power supply provides 12V for the heaters, and around 200V B+ for the receiver chassis. From the receiver chassis, audio is fed to the 12AQ5 output valve on the power supply chassis. There is also a speaker signal connection back into the receiver chassis for negative feedback and the tone control circuit. The entire cable is shielded.
Being of rubber insulation, the internal conductors had all gone brittle. It could be seen that previous attempts at repair had involved insulating tape over the crumbled insulation.
To rebuild the cable, I use separate wires, except for the audio connection. Here, I use RG-174 coaxial cable. The whole lot is then covered in heatshrink tubing.

Receiver Chassis.
One request from the owner was to replace the original aerial socket with the later standard Motorola type. This is easily done. The crimped flange is cut away with a Dremel tool, and the new socket riveted in place.
After this, was the usual routine of resistor and capacitor replacement. This typically takes a couple of days of work. Fortunately, ceramic capacitors are used in many of the places where mica types are used in other sets. These don't need to be replaced, which saves a worthwhile amount of work.
Interestingly, this set had a 12AU6 for the RF amplifier, which is as per the circuit diagram, but the previous set had a 12BA6 in this position.

Paper capacitors were replaced, except for the 12BA6 IF amplifier cathode bypass, and those in the tone control circuit. The latter are shunted with low value resistors which over rides any leakage they may have. Furthermore, any leakage cannot cause any damage.
The 220 ohm resistors were found to be high (C48 and C53) so were replaced. Again, we are now seeing the failure of low value IRC resistors.
One all these parts were replaced, the set was tested, and it came to life - once I discovered one of the 220 ohm resistors had inadvertently been pushed over against an earth pin of the adjacent valve socket, thus shorting out the signal.

Tracking.
Readers of the previous ARM article will remember the original 262.5 kc/s IF transformers had been replaced with 455 kc/s types, and that a considerable amount of work was required to modify the front end to suit. Fortunately, I didn't have to deal with this problem here - everything was original.

However, the frequency coverage was not correct. The set would tune down to about 550 kc/s and up to around 1650 kc/s. The dial call signs did not line up correctly, particularly at the high frequency end of the band.
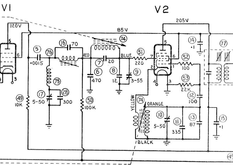
The manual states the frequency coverage is 530 to 1610 kc/s. Armed with that knowledge, I set out to see what realignment could be done. Obviously, the first thing to examine is the local oscillator, since this is what determines the frequency coverage. The only adjustment for this is the core of the local oscillator coil (depicted as 74 on the circuit diagram), and the trimmer capacitor, C10.


Front end for the 262.5 kc/s version.

Since the local oscillator was running high, either the core needed to be screwed in, and/or the trimmer capacitance increased. Since it was easy to try, I simply connected a 415pF variable capacitor across the trimmer capacitor, and adjusted it for correct frequency coverage. This it did without needing to adjust the oscillator coil core - something which was best avoided, since the rubber surrounding the threads of the screws had perished. The variable capacitor was set for 39pF for 2UE (954 kc/s) to line up to the correct dial position.
Total capacitance therefore was about 87 + 335 + 39 + (say) 15 for the trimmer = 476pF.

Even though this was an improvement, it wasn't necessarily the correct amount of capacitance, as will be shown.

We can see the need for a lot more than the 30pF maximum of the existing trimmer capacitor. This itself is not easily adjusted, since it's one of those ceramic tube types, with wire wound around it and soldered. If you need to reduce capacitance, wire is unwound and cut off. Increasing capacitance requires winding on extra wire. I have adjusted them in the past, but it's more involved than simply turning a screw. Since this capacitor didn't have enough capacitance, and was a pain to adjust for something like this, I decided to replace it with a modern 40pF plastic type.
However, the existing capacitance formed by the 335pF mica and the 87pF tubular ceramic still needed to be increased. Initially, I used 120pF for the 87pF replacement, but the peak was right on full capacitance for the trimmer, which leaves no room for adjustment. I found the trimmer adjustment was centred when the 87pF was replaced with 150pF. This would make the total capacitance about 505pF.
Now, how to set this trimmer? Well, the RF coils are also seized up, so the plan is to get the local oscillator to track with those, and then deal with any dial discrepancy afterwards. With the signal generator on a mid band frequency (I used 960 kc/s), the trimmer is adjusted in conjunction with the tuning control until the signal peaks. In effect, we're finding where the RF coils are correctly tuned, and adjusting the local oscillator to suit.
Luckily, a slight bend of the dial pointer mounting corrected the slight error. With correct tracking, the output of the set was noticeably higher.

After all that, the set was now functional. The black plastic surround was glued back together and reinforced with aluminium tape.

Volume Control.
Most domestic valve radios use a standard type of volume pot with a 1/4" shaft, and there might be switch attached to the back of it. It's a relatively easily replaced item. Car radios are a different story. By the mid 50's, car radios were starting to use concentric pots with combined tone and volume controls, and the shafts were smaller than the usual 1/4". These controls would often be unique to a particular model, or range of models. Replacement is difficult, and the thought of having to do so is one of the reasons I avoid sets like this.

With this particular Astor ARM, I had noted that the volume was cramped up at the top end of the volume control. The effect was virtually no volume until past the halfway point of rotation. Initially, I had put it down to the set having low gain due to some fault.
Testing the 12AV6 and 12AQ5 audio amplifier showed the gain and power output was normal. The output from the detector was about 2Vp-p, which is more than enough to drive such an amplifier to full output.
Nevertheless, the detector output was slightly less than the 455Kc/s ARM, which was also in for a Bluetooth modification.

I found that reducing the AGC voltage made a huge difference to the detector output voltage and volume. However, the AGC was confirmed as working correctly, as were the valves in the front end. Perhaps there was something wrong with the negative feedback circuit, applying too much feedback. That checked out OK too, but I did end up replacing the paper capacitors, and the 2.2k and 22k resistors anyway.

Thinking about it further, even if the set had some low gain problem, there should still be something heard below the halfway setting.

What about the volume pot itself? Putting a CRO on the wiper connection confirmed my suspicion. There was virtually no signal until well past half rotation. Although it is a logarithmic pot, there still should have been something.
The fault was revealed when I actually measured the resistance of the pot. Instead of 1.2M, it was 1.9M, and it was found the track resistance had drifted high towards the top end of rotation. Pretty obviously, this was the reason for the volume being cramped at one end.
However, on a positive note, the control doesn't actually require replacement for the radio to work properly. In simple terms, the characteristic of resistance vs. rotation has changed, but the important thing is it still provides full volume adjustment. It's just that the control action is much more logarithmic than was intended! Sensitivity and power output are not affected in any way.
It was possible to restore something like normal control, by connecting a 470k resistor between the top end of the track and the wiper. I did not make this a permanent modification, because it revealed another fault. The wiper connection was intermittent near the bottom end of rotation. With the 470k in place, full volume would occur just before the radio was switched off. I felt it best to leave things as is.

Mechanical Repairs.
The tuning mechanisms of push button car radios usually need work. In this one, the rubber discs for the tuning clutch were still intact, although one had become detached. Contact cement works well to reattach it to the drive disc. The push buttons were all cleaned and lubricated. The gearing of the whole thing, including the pointer mechanism was also cleaned and lubricated. Now it could tune from one end of the band to the other without sticking. Furthermore, the push buttons should not require excess force to push them back in after setting them.


Cleaning and lubrication required for the push buttons so they could be set correctly.

The fragile black plastic surround was re-glued and reinforced with aluminium tape. Until a repro becomes or a better one is found, it will have to do.


The broken parts of the dial, where the control shafts pass through, now merely act as spacers.

Bluetooth.
The owner requested a Bluetooth conversion, and this is described in a separate article.


Intermittent Fault.
Once the radio was all back together, which with these sets requires quite a bit of assembly, a fault made itself apparent. Now, experience is that once you've spent a while reassembling something, and you think it's ready to give back, that's when a fault will appear.
In this instance, I had turned the radio on in the morning while I was doing other things and within a few minutes the carrier suddenly disappeared. I have noted that 2UE sometimes does this briefly, except this was more than a second or so. Then I had a horrible thought that the local oscillator had drifted or failed totally. Sure enough, tuning slightly down the dial, there was 2UE again. But alas, it disappeared again, and was back in its original position.
The next day this happened again. Obviously there was really an intermittent fault. I can't say I was surprised - there's always one. The likely cause would be a mica capacitor in the local oscillator circuit. In this set, that's the 335pF. I pulled it out and was surprised to find it measured 313pF. I put in a 330pF polystyrene. Naturally, the trimmer capacitor had to be readjusted after this. No further problems were encountered.



Home